网站地图

新闻首页

匠心手造|成果保护和转化为“山东手造”产业化发展提质增效

时间:2022.05.28

近几年,高等院校成果保护和转化水平不断提高,专利申请量、授权量、转化量大幅提升。服务山东省文化创意产业发展管理委员会充分发挥学校原创设计资源和智力资源优势,搭建成果转化平台,积极开展各种形式的成果保护和转化工作,以创新创业模式促进文化创意产业和“山东手造”发展,形成了从成果保护和转化到项目孵化到校企融合的产学研一体化模式,助力“山东手造”推进工程。

服务师生设计成果保护和转化,激发创新活力

为落实学校关于《“山东手造”推进工程实施方案》工作要求,服务“山东手造”区域公共文化品牌建设,全面推进师生设计成果的市场化运营,促进山东手造产业化发展。文创管委会联合学校相关职能部门、教学单位开展设计艺术博览会与“山东手造/大学生市集”成果保护和转化,通过校友企业、共同体成员单位及第三方交易服务平台实现成果转移和转化,以设计的力量不断给产品赋能,让艺术设计引领生活、服务生活,让创新产品插上“设计的翅膀”。


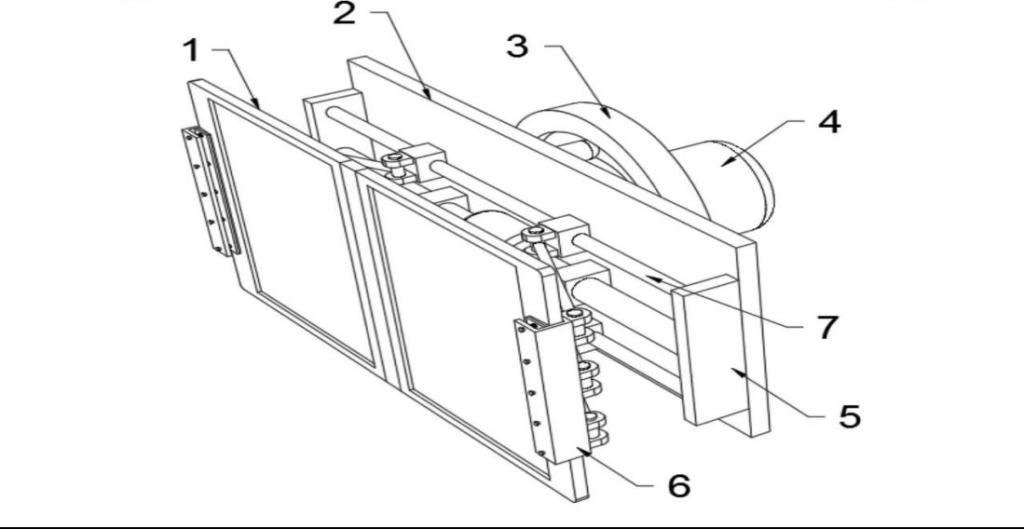
                              服装学院教师发明专利成果转化

                          造型艺术学院学生成果保护和转化

汇聚各方资源搭建成果转化平台,拓宽产教融合渠道

为全面推动学校科研成果和学科优势转化为生产力,实现经济效益、社会效益、文化效益三位一体发展。学校全面整合第三方服务平台、金融机构、社会组织等搭建全产业链一体化成果保护和转化平台。平台结合设计成果交易的个性化要求,串联科创和手造成果转化过程的各个环节,为学校创新创业、成果转移转化、知识产权运营、产教融合等提供一站式服务。平台将聚焦“政产学研金服用”七大创新要素的协同创新,拓展学校服务“山东手造”推进工程和山东新旧动能转换重大工程能力。

                      数字孪生城市四维可视化信息系统成果转化

                   海岸生态监测微型智能浮标系统设计成果转化

为进一步提高学校成果保护含金量,拓宽学校成果转移转化路径,着力实现《工业品外观设计国家注册海牙协定》(海牙协定是世界知识产权组织管理的一个非常重要的知识产权国家条约,与《商标马德里协定》和《专利合作条约》一起,共同构成工业财产权领域的三大服务体系)成果保护和转化3至5项,并将相关的专利成果分配到产业链上下游骨干企业进行转化应用。将文创产业链条中的各环节加以整合、加速流通,有效缩短价值创造周期,助力山东文化品牌建设和产业转型升级发展。

供稿单位:服务山东省文化创意产业发展管理委员会;作者:李宁;审核:韩文涛

分享到: